Hvordan installerer jeg røykvarslere?

Må du sørge for at andre røykvarslere høres når en røykvarsler testes
Siden kablet røykvarsler har en sammenkoblingsfunksjon, må du sørge for at andre røykvarslere høres når en røykvarsler testes.

Røykvarslere kreves av elektrisk kode nesten overalt, og med god grunn: Forskning viser at røykvarslere redder liv og eiendom ved å varsle beboere om både tidlige og ulmende branner. Brann begynner ofte så stille at beboerne ikke aner at deres bolig brenner før det er for sent. Røykvarslere forblir våken hele dagen og hele natten, og registrerer kontinuerlig selv de svakeste bevisene på røyk og ild.

Røykvarslere fungerer bare når de har en kontinuerlig elektrisk ladning. Når batteriene dør, er røykvarslere ubrukelige. Studier har vist at omtrent 25 prosent av alle mislykkede røykvarslere var forårsaket av døde batterier.

Hva er en kablet røykvarsler?

Hardwired er et begrep som betyr at en elektrisk kabel går direkte inn i en elektrisk enhet. Enheten kobles ikke til en elektrisk stikkontakt.

Fra utsiden ser hardt koblede røykvarslere ut som batteridrevne røykvarslere og ligger i de samme områdene i hjemmet. Forskjellen er at en elektrisk kabel går usett bak taket eller veggen, direkte inn på baksiden av røykvarsleren. Den elektriske kabelen gir strøm til røykvarsleren hele tiden, bortsett fra i tilfelle strømbrudd. Hvis strømmen svikter, tar det innebygde batteriet over og fortsetter å drive røykvarsleren.

Koder og forskrifter

Kontakt ditt lokale tillatelsesbyrå for koder og forskrifter angående fastkoblede røykvarslere. I mange lokalsamfunn er det hardt kablede røykvarslere i økende grad påkrevd i nybygg og ombygging. Selv om koden ikke krever at du installerer røykvarslere i hjemmet, kan det være lurt å vurdere å gjøre det siden de er mer pålitelige og dermed tryggere enn røykvarslere uten batteri.

Når skal du installere røykvarslere

Ettersom alt arbeid knyttet til røykvarslere er fast innendørs, er ikke dette prosjektet sesongfølsomt; de kan installeres når som helst i løpet av året.

Sikkerhetshensyn

Forsikre deg om at alle elektriske kretser som løper til røykvarslerne er vendt av. Sørg for å sjekke alle tilkoblinger med en spenningsdetektor før du arbeider med dem. Bruk øyevern til enhver tid.

Prosjektberegninger

  • Arbeidstid: 4 timer (for to røykvarslere i to tilstøtende rom)
  • Total tid: 5 timer
  • Ferdighetsnivå: Ekspert
  • Materialkostnad: 37€ til 75€

Det du trenger

Utstyr / verktøy

  • Trådløs drill
  • Seks fots trinnstige
  • Hammer
  • Målebånd
  • Blyant
  • Gipsmur
  • Spenningstester
  • Wire stripper
  • Wire ripper
  • Stud finn
  • Øyebeskyttelse

Materialer

  • Kablete røykvarslere
  • Elektriske bokser
  • Trådmuttere
  • 11 NM-kabel
  • 10,67 NM-kabel

Bruksanvisning

  1. Merk steder for røykvarslerbokser

    Finn de beste stedene for røykvarslerne. Tak er generelt det beste stedet for røykvarslere siden røyk stiger. Hvis du installerer detektoren på en vegg, må du installere den innen 30 centimeter fra taket. Bruk pinnesøkeren til å finne takbjelkene eller veggpinnene. Hold strømboksen bakover og bruk omkretsen av ansiktet som mal. Tegn rundt omkretsen med en blyant. Sørg for å finne boksene rett ved siden av bjelkene eller piggene.

  2. Klipp gipsveggen til esken

    Kutt ut gipsplaten for de to boksene med gipsveggsagen.

  3. Installer kabelen til den første boksen

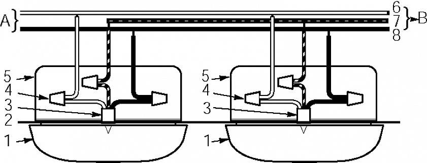
    Fra det elektriske servicepanelet (ellers kjent som kretspanelet eller sikringsboksen), kjør 11 NM-kabelen, eller på annen måte som angitt i enhetens instruksjoner, til området til den første boksen.

  4. Installer kabelen fra den første boksen til den andre boksen

    Fra den første boksen, kjør 10,67 NM-kabelen, eller på annen måte som angitt i enhetens instruksjoner, fra den første boksen til den andre boksen.

  5. Koble ledningene

    Den elektriske kabelen gir strøm til røykvarsleren hele tiden
    Den elektriske kabelen gir strøm til røykvarsleren hele tiden, bortsett fra i tilfelle strømbrudd.

    I den første esken bruker du trådmuttere der det er aktuelt:

    • Koble til de to svarte ledningene, og legg til den svarte ledningen fra den andre røykvarsleren
    • Koble til alle hvite ledninger
    • Koble alle nakne ledninger av kobber og pigtail dem til esken
    • Koble den røde ledningen til sammenkoblingskabelen fra røykvarsleren, vanligvis merket som gul
  6. Monter braketten til boksen

    Sett brakettmonteringsbraketten på esken, og juster den med de to skruehullene. Før ledningene gjennom braketten. Skru braketten på plass.

  7. Koble til røykvarsleren

    Fest røykvarsleren via trepinnsforbindelsen på baksiden av detektoren.

  8. Installer reserve røykvarslerbatteriet

    Sett batteriet i røykvarsleren, og juster positive og negative terminaler i riktig konfigurasjon. Sett på plass dekselet.

  9. Fest røykvarsleren til basen

    Alle hardwired røykvarslere fester seg på basene sine på en annen måte. Se instruksjonene. Generelt sett må du imidlertid skyve hakk på detektoren i spor på basen, og vri den deretter.

  10. Gjenta for den andre røykvarsleren

    Gjenta prosessen for den andre, tilkoblede røykvarsleren med ledningstilkoblingstrinnet. Du vil koble til færre ledninger hvis dette er en sluttkjørt røykvarsler.

  11. Fest kabelen til bryteren

    Fjern frontpanelet på servicepanelet. Fest den elektriske kabelen som fører røykvarslerne til en strømbryter med passende størrelse. Generelt vil dette være en effektbryter på 20 ampere.

  12. Slå på strømbryteren og test

Sett på frontpanelet, og vri deretter på strømbryteren for røykvarslerne. Test hver strømbryter ved å trykke på testknappen.

Siden kablet røykvarsler har en sammenkoblingsfunksjon, må du sørge for at andre røykvarslere høres når en røykvarsler testes.

Tips

Forsikre deg om at du alltid bruker øyevern når du slår på strømbryteren for første gang etter at du har koblet den til røykvarslerne.

Når skal du ringe en profesjonell

Hardwiring røykvarslere er et avansert prosjekt som har direkte innvirkning på sikkerheten din. Hvis du i det hele tatt føler deg ukomfortabel med muligheten til å installere disse enhetene, kan du ringe en autorisert elektriker for å få hjelp.

FacebookTwitterInstagramPinterestLinkedInGoogle+YoutubeRedditDribbbleBehanceGithubCodePenWhatsappEmail